ZJHD氣動低溫調節閥
一、氣動低溫調節閥 產品概述
ZJHD氣動低溫調節閥,由氣動薄膜執行器及低溫調節閥閥體組成,多彈簧執行機構高度低、重量輕、裝備簡便。氣動低溫調節閥,閥體流道呈S流線型。氣動低溫調節閥具有結構緊湊、重量輕、動作靈敏、壓降損失小、閥容量大、流量特性精確、維護方便等優點,適合于低于0~-250℃狀態下工作,由氣動薄膜執行機構和帶長頸接管的閥體組成,長頸接管的作用是使閥桿密封出接近常溫下工作,并減少外界熱能傳入。為減少傳遞,長頸采用薄壁結構。
二、氣動低溫調節閥 主要技術參數
閥體
閥體形式 | 直通鑄造球型閥 |
公稱通徑 | DN25~300mm |
公稱壓力 | PN1.6、2.5、4.0、6.4MPa |
法蘭標準 | GB/T9113、 JB/T79 |
連接形式 | 法蘭(FF RF RTJ)、焊接(SW BW)、螺紋(適用于1″以內) |
閥蓋形式 | 低溫型-10~-196℃、超低溫型-196~-250℃ |
壓蓋型式 | 螺栓壓緊式 |
密封填料 | V型聚四氟乙烯填料、含浸聚四氟乙烯石棉填料、石棉紡織填料、石墨填料 |
閥內件
閥芯形式 | 單座、籠式、套筒型閥芯 |
流量特性 | 線性、等百分比 |
執行機構及附件、作用形式
執行器型式 | ZHA/B多彈簧簿膜執行機構 |
執行器型號 | ZHA/B-22 | ZHA/B-23 | ZHA/B-34 | ZHA/B-45 | ZHA/B-56 |
有效面積(cm2) | 350 | 350 | 560 | 900 | 1400 |
行程(mm) | 10、16 | 25 | 40 | 40、60 | 100 |
彈簧范圍(KPa) | 20~100(標準)、20-60、60-100、40-200、80-240 |
膜片材料 | 丁腈橡膠夾尼龍布、乙丙橡膠夾尼龍布 |
供氣壓力 | 140~400KPa |
氣源接口 | RC1/4" |
環境溫度 | -30~+70℃ |
可配附件 | 定位器、空氣過濾減壓器、保位閥、行程開關、閥位傳送器、手輪機構等 |
作用形式 | 氣關式(B)—失氣時閥位開(FO);氣開式(K)—失氣時閥位關(FC) |
三、氣動調節閥內部結構圖
 |  |  |
單座柱塞型閥芯 | 籠式閥芯(導向型) | 套筒式(壓力平衡式)閥芯 |
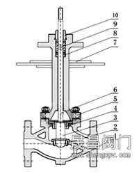
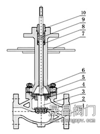
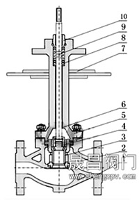
四、氣動低溫調節閥 主要零件材料
1 | 閥體 | WCB | CF8 | CF8M | CF3M |
2 | 閥座、套筒 | 304 | 304 | 316 | 316L |
3 | 閥芯 | 304 | 304 | 316 | 316L |
4 | 導向套、并帽 | 304 | 304 | 316 | 316L |
5 | 閥蓋 | WCB | CF8 | CF8M | CF3M |
6 | 閥桿 | 304 | 304 | 316 | 316L |
7 | 隔熱板 | 304 | 304 | 316 | 316L |
8 | 填料 | 金屬石墨纏繞墊片/柔性石墨 |
9 | 彈簧 | 65Mn | 304 | 316 | 316L |
10 | 螺母 | 304 | 304 | 316 | 316L |
五、氣動低溫調節閥 主要性能指標
項目 | 不帶定位器 | 帶定位器 |
基本誤差% | ±10.0 | ±1.0 |
回差% | ≤6.0 | ≤1.0 |
死區% | ≤6.0 | ≤0.4 |
始終點偏差% | 氣開 | 始點 | ±5.0 | ±1.0 |
始點 | ±10 | ±1.0 |
氣關 | 始點 | ±10.0 | ±1.0 |
終點 | ±5.0 | ±1.0 |
額定行程偏差% | ≤±2.5 |
泄露量L/h | 0.01%×閥額定容量 |
可調范圍R | 30:1 |
六、氣動調節閥額定流量系數Kv、額定行程、配用執行器型號
公稱通徑 DN(mm) | 25 | 32 | 40 | 50 | 65 | 80 | 100 | 125 | 150 | 200 | 250 | 300 |
閥座直徑 dN(mm) | 25 | 32 | 40 | 50 | 65 | 80 | 100 | 125 | 150 | 200 | 250 | 300 |
額定流量系數KV | 單座 | 11 | 17.6 | 27.5 | 44 | 69 | 110 | 176 | 275 | 440 | 630 | 1000 | 1600 |
籠式 | 9 | 15 | 23 | 35 | 59 | 95 | 148 | 236 | 355 | 568 | 885 | 1260 |
套筒 | 10 | 16 | 25 | 40 | 63 | 100 | 155 | 250 | 370 | 580 | 900 | 1300 |
額定行程(mm) | 16 | 25 | 40 | 60 | 100 |
配用執行器型號 | ZHA/B-22 | ZHA/B-23 | ZHA/B-34 | ZHA/B-45 | ZHA/B-56 |